VOICE Homepage: http://de.os2voice.org
April 2001

[Newsletter Inhalt]
[Vorherige Seite] [Nächste Seite]
[Artikelübersicht]

editor@os2voice.org


Netzwerk-Fixpaks für OS/2 Warp


Artikel von Alex Taylor ©März 2001, Übersetzung: Frank Berke

Zusammenfassung der MPTS Versionen und Fixstände unter OS/2 Warp

MPTS wird von IBM momentan in zwei Geschmacksrichtungen angeboten. Die Versionen 5.1 und 5.2 (und alle darunter) enthalten einen 16-Bit TCP/IP-Stack. Die Versionen 5.3 und aufwärts enthalten einen BSD 4.4-kompatiblen 32-Bit TCP/IP-Stack. Der Einfachheit halber beziehe ich mich auf die beiden Geschmackrichtungen von jetzt an als "MPTS-16" beziehungsweise "MPTS-32".

MPTS-32 ist darauf ausgelegt, zusammen mit einem 32-Bit TCP/IP Dienste-Paket installiert zu werden (Versionen 4.1 und aufwärts). Diese Versionen sind nicht als freie Updates erhältlich; sie müssen gekauft werden. Es ist möglich, MPTS-32 ohne die 32-Bit TCP/IP Dienste zu installieren; IBM jedoch empfiehlt dies lediglich für Warp Server SMP Systeme. Für alle anderen Plattformen empfiehlt IBM entweder, die 32-Bit TCP/IP Dienste zu erwerben, oder stattdessen MPTS-16 Updates zu verwenden.

MPTS-32 ist sowohl direkt im OS/2 Warp Server for e-Business, als auch in den OS/2 Convenience Packages (OS/2 Warp V4.51) enthalten.

MPTS-16 ist für die Benutzung mit den 16-Bit TCP/IP Diensten vorgesehen, wie sie in OS/2 Warp Connect, Warp Server, und Warp 4 enthalten sind, sofern TCP/IP 4.1 oder höher nicht installiert ist.

Die Diagramme unten fassen die möglichen Upgrade-Pfade für MPTS zusammen. Fixstände, die nicht mehr länger auf IBMs Server frei verfügbar sind, sind nicht enthalten.

Fett gedruckte Fixstände sind gleichbedeutend mit einem kompletten Austausch des MPTS. Diese sind keine Fixpaks, sondern frische Installationen von MPTS, welche die derzeit installierte Version ersetzen.

Alle Versionen von MPTS sind Jahr-2000-fähig.


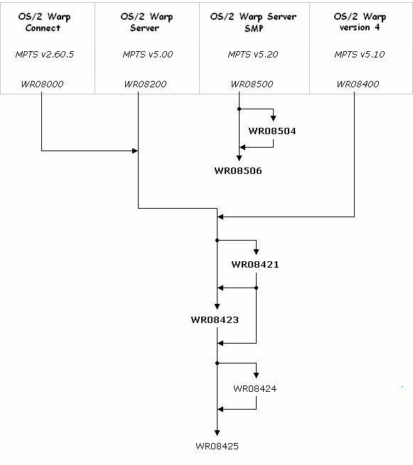
MPTS-16

OS/2 Warp Connect, Warp Server, Warp Server SMP und Warp 4 werden mit MPTS-16 Versionen ausgeliefert. Die ursprüngliche Version ist unter der Betriebssystemversion angezeigt.

[Possible upgrade paths for MPTS-16]


MPTS-32

Die kommerziellen TCP/IP Pakete, welche MPTS-32 enthalten, setzen bestimmte Verseionen des Basisbetriebssytems voraus. Konsequenterweise sind daher die verfügbaren Upgrade-Optionen für jede der folgenden Betriebssystemversionen unterschiedlich:
  1. OS/2 Warp Connect (angezeigt in rot)
  2. OS/2 Warp Server und Warp Server SMP (angezeigt in blau)
  3. OS/2 Warp Version 4, OS/2 Warp Server for e-Business und die Convenience Packages (angezeigt in schwarz)
Um das untenstehende Diagramm zu lesen, gehen Sie von Ihrem Basisbetriebssystem aus und folgen dann den Upgrade-Pfaden mit der entsprechenden Farbe; alle anderen Farben können ignoriert werden.

Tja, ich befürchte, dieses Diagramm sieht wie der Plan einer U-Bahn aus. Wenn es Ihnen zu kompliziert erscheint, merken Sie sich: konzentrieren Sie sich immer nur auf jeweils eine Farbe. Sobald Sie herausgefunden haben, welche zwei Farben Sie ignorieren müssen, sollte es nicht mehr ganz so schwer zu verstehen sein.

[Possible upgrade paths for MPTS-32]

Hinweise:

  1. Der Client Connect Pak kommt zusammen mit dem Warp Server for e-Business; er kann genutzt werden, um OS/2 Warp Client Systeme auf die gleichen Netzwerk-Level wie den WSeB zu heben.

  2. WR_8620 ist sowohl als kumulatives Fixpak als auch als Komplettinstallation verfügbar (im WSeB und Client Connect Pak). Die Fixpak-Version sollte nur installiert werden, wenn zuvor entweder WR_8600 oder WR_8610 installiert wurden. Auf OS/2 Warp Connect kann lediglich das Fixpak installiert werden.

  3. OS/2 Warp 4.51 ist das Convenience Package, welches über Software Choice zu erhalten ist. Es enthält TCP/IP Version 4.3.

Artikelhinweise:
Alex Taylors Homepage: http://eddie.cis.uoguelph.ca/~alex/computing.html
IBMs "Beginner's Guide to Understanding OS/2 FixPaks": http://ps.software.ibm.com/pdocs-usa/FIXHELP.HTM
Oliver Ricks Warp Update Summary: http://www.warpupdates.de


Artikelübersicht
editor@os2voice.org
[Vorherige Seite] [Inhalt] [Nächste Seite]
VOICE Homepage: http://de.os2voice.org